上海滬工閥門廠(集團)有限公司
(2)蝶閥的應用
傳統意義上的蝶閥是一種簡單的且關閉不嚴的擋板閥,通常用于水管路系統中作為流量調節和阻尼用。近十幾年來,蝶閥制造技術發展迅速,在美、日、德、法等發達國家,蝶閥的使用非常廣泛,其使用品種也在不斷擴大,并向高溫、高壓、大口徑、密封閥、長壽命、優良的調節性以及一閥多功能的方向發展,其密封性及安全可靠性均達到了較高的水平,并已部分地取代了截止閥、閘閥和球閥。傳統意義上的蝶閥已不復存在。因此,蝶閥廣泛應用于給水、油品、燃氣等管路。
2-62 什么是旋塞閥?特點是什么?常用在哪里?
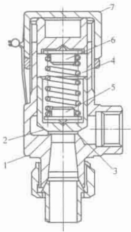
答:旋塞閥利用閥件內所插的中央穿孔的錐形栓塞的控制啟閉的閥件,稱為旋塞閥。旋塞閥的結構如圖 2-12 所示。

圖 2-12 旋塞閥
1-旋塞;2-壓環;3-填料;4-閥體;5-退塞螺栓
旋塞閥的特點:結構簡單,外形尺寸小,介質流動方向不限,啟閉時只需旋轉 90°,十分快捷,這種直通式旋塞閥通道不縮小,介質在閥內流向不改變。流體阻力小,還可制作成三通路或四通路閥門,可作為分配換向用。但密封面易磨損,開關力較大。
旋塞閥不適用于輸送高溫、高壓介質(如蒸汽)、只適用于一般低溫、低壓流體,作開閉用,不宜做調節流量用。
旋塞閥應用于油田開采、輸送和精煉設備中,同時也廣泛用于石油、化工、燃氣、水暖等管路中。
旋塞閥公稱直徑范圍為 15~150mm,公稱壓力有 0.6MPa、1.0MPa、1.6MPa 三個等級,工作溫度在 100℃ 以內。
2-63 什么是止回閥?特點是什么?常用在哪里?
答:止回閥只用于阻止介質倒流的閥門,又稱逆止閥、單向閥,它包括各種結構的止回閥(如升降式、旋啟式、蝶式止回閥和底閥等)。升降式止回閥和旋啟式止回閥的結構如圖 2-13 和如圖 2-14 所示。

圖 2-13 升降式止回閥
1-閥體;2-閥座;3-導向套簡;4-閥瓣;5-閥蓋

圖 2-14 旋啟式止回閥
1-閥體;2-閥蓋;3-閥瓣;4-搖桿;
止回閥的特點:升降式止回閥比旋啟式止回閥的密封性好,流體阻力大;臥式的宜裝在水平管線上,立式的應裝在垂直管線上;旋啟式止回閥,不宜制成小口徑閥門,他安裝在水平,垂直或傾斜的管線上,如裝在垂直管線上,介質流向應由下至上。
止回閥僅能安裝在輸送清潔介質的管道上,對于有某種顆粒和粘度較大的介質是不適用的,因為這種介質會降低止回閥的密封性能。
2-64 什么是減壓閥?結構如何?特點是什么?
答:減壓閥是一種能將介質壓力降低到一定數值的自動閥門。減壓閥根據敏感元件及結構不同可分為彈簧薄膜式減壓閥、活塞式減壓閥、波紋管式減壓閥、杠桿式減壓閥等。
這里將活塞式減壓閥的機構及工作原理介紹如下:
活塞式減壓閥的結構及工作原理如圖 2-15a、b 所示,其主要由閥體、閥蓋、彈簧、活塞、主閥、副閥(脈沖閥)等部分組成。在閥體的下部裝有主閥彈簧 11 用以支承主閥 10,使主閥與閥座處于密封狀態。閥體上部裝有活塞 8,活塞與主閥 10 的閥桿相配合,待活塞 8 受到介質壓力推動主閥 10,使主閥開啟。閥蓋內裝有壓縮彈簧、脈沖閥及膜片,帽蓋內裝有調節螺釘、調節彈簧以調節需要的工作壓力。

圖 2-15 活塞式減壓閥
a)活塞式減壓閥;b)活塞式減壓閥工作原理
1-調節螺釘;2-調節彈簧;3-上蓋;4-膜片;5-脈沖閥;6-閥蓋;7-活塞環;8-活塞;9-閥體;10-主閥;11-主閥彈簧;12-底閥蓋
活塞式減壓閥的工作原理如圖 2-15b 所示,當閥門工作時,順時針方向旋轉調節螺釘 1,壓下磨片 4,頂開脈沖閥 5、閥前壓力為 p1 的介質經過閥體內通道 a 經小室 e、小室 d 和閥內通道 b 到達活塞的上部空間,克服下彈簧力、推下活塞 8,打開主閥 10。介質流過主閥,壓力下降為 p2 升高時。薄膜片由于下面的作用力變大而向上彎,脈沖閥關小,是的介質進入小室 e 和小室 d 的通道變窄,活塞口的下推力下降,主閥上升關小,壓力 p2 自動降下來。反之亦然。活塞式減壓閥可保持壓力 p2 在一定的范圍內波動。
活塞式減壓閥的特點是工作可靠、維修量小,減壓范圍較大,占地面積小,使用范圍廣。活塞式減壓閥工作時,由于活塞在氣缸中的摩擦力較大,因此,它適用于溫度較高、壓力較大的蒸汽和空氣等介質的管道工程上。活塞式減壓閥的缺點是靈敏度較差。
彈簧薄膜式減壓閥、波紋管式減壓閥、減壓穩壓分別如圖 2-16、圖 2-17、圖 2-18 所示。

圖 2-16 彈簧播模式減壓閥
1-閥體;2-閥蓋;3-薄膜;4-閥桿;5-閥瓣;6-主閥彈簧;7-調節彈簧;8-調整螺栓

圖 2-17 波紋管式截止閥
1-調整螺栓;2-調節彈簧;3-波紋管;4-壓力通道;5-閥瓣;6-定金彈簧

圖 2-18 減壓穩壓閥
1-閥體;2-密封墊;3-導套;4-限位母;5-閥瓣;6-密封圈;7-閥座;8-閥桿;9-活塞套;10-O 形密封圈;11-膜片;12-托盤;13-壓縮彈片;14-彈簧;15-調節螺桿;16-彈簧座;17-蓋形;18-密封墊;19-下閥蓋;20-螺母
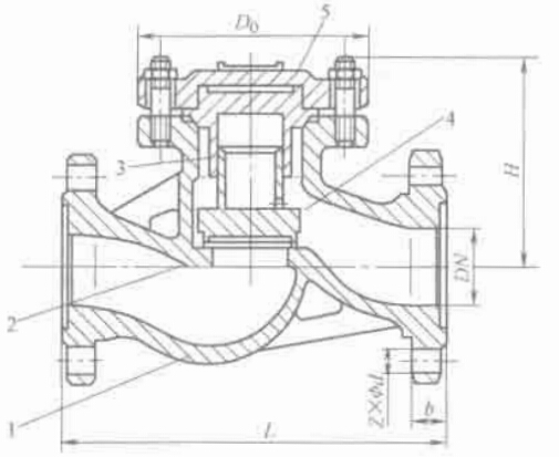
2-65 什么是隔膜閥?結構如何?型號及參數有哪些?
答:啟閉件為隔膜,由閥桿帶動沿閥桿軸線作升降運動并將使動作機構與介質隔開的閥門,可稱隔膜閥。
隔膜閥的結構如圖 2-19 所示,隔膜閥用橡膠、塑料、搪瓷等耐腐蝕材料做襯里,隔膜閥的優點是結構簡單、便于維修、流動阻力下,多用于輸送酸類介質和帶懸浮物的工業管路上,其適用范圍為 PN≤0.6MPa,DN≤300mm。
隔膜閥結構形式如圖 2-19、圖 2-20、圖 2-21 所示。

圖 2-19 屋脊式隔膜閥
1-閥體;2-閥桿;3-隔膜;4-襯里

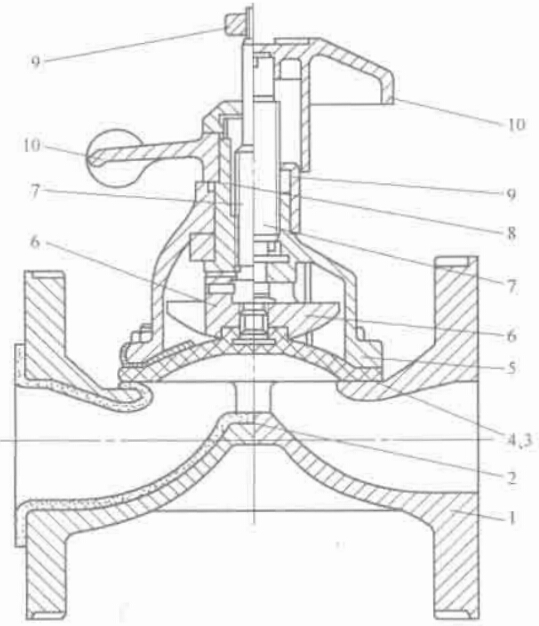
圖 2-20 堰式隔膜閥
1-閥體;2-閥體襯里;3-隔膜;4-螺釘;5-閥蓋;6-閥瓣;7-閥桿;8-閥桿螺母;9-指示器;10-手輪;

圖 2-21 直通式隔膜閥
隔膜閥型號及參數見表 2-60。
| 名稱 | 型號 | 公稱壓力 PN/MPa | 適用介質 | 適用溫度/℃≤ | 公稱尺寸 DN/mm |
| 隔膜閥 | G41W-6 | 0.6 | 酸、堿類 | 65 | 15~200 |
| 襯膠隔膜閥 | G41J-6 | 25~300 | |||
| 氣動襯膠隔膜閥 | G641-6 | 25~200 | |||
| 氣動常開式襯膠隔膜閥 | G6h41J-6 | 25~200 | |||
| 氣動常閉式襯膠隔膜閥 | G6B41J-6 | 25~200 | |||
| 電動襯膠隔膜閥 | G941J-6 | 50~200 | |||
| 搪瓷隔膜閥 | G41C-6 | 100 | 25~200 |
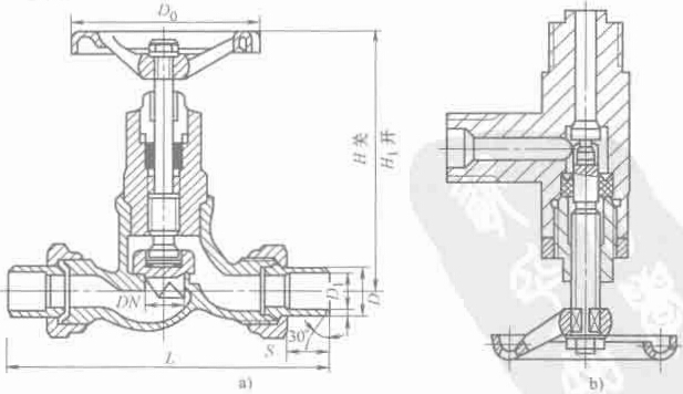
2-66 什么是節流閥?結構特征是什么?型號及參數有哪些?
答:通過啟閉件(閥瓣)來改變閥門的通路面積,以調節流量、壓力的閥門稱為節流閥。
節流閥如圖 2-22 所示,從結構特征看,節流閥也屬于截止閥類,閥瓣有窗形、塞形和針形,如圖 2-23 所示。窗形用于大通徑,塞形用于中通徑,針形用于小通徑。節流閥的作用是節流減壓,使介質膨脹,因此,也稱膨閥。

圖 2-22 節流閥
a)L21SA-25K 外螺紋節流閥;b)角式節流閥

圖 2-23 節流閥閥瓣
雖然節流閥在結構特征上與截止閥相似,但節流閥不能當截止閥使用,截止閥也不可代替節流閥。
同截止閥一樣,節流閥安裝具有方向性,安裝時可按“低進高出”的原則進行安裝。
節流閥型號及參數見表 2-61。
| 名稱 | 型號 | 公稱壓力 PN/MPa | 適用介質 | 適用溫度/℃≤ | 公稱尺寸 DN/mm |
| 外螺紋節流閥 | L21W-25K | 2.5 | 氨、氨液 | -40~150 | 10~15 |
| 外螺紋角式節流閥 | L24W-25K | 10~15 | |||
| 外螺紋節流閥 | L21B-25K | 20~25 | |||
| 外螺紋角式節流閥 | L24B-25K | 20~25 | |||
| 節流閥 | L41B-25Z | 32~50 | |||
| 角式節流閥 | L44B-25Z | 32~50 | |||
| 外螺紋節流閥 | L21W-40 | 4.0 | 油品 | 200 | 6~10 |
| 卡套節流閥 | L91W-40 | 6~10 | |||
| 外螺紋節流閥 | L21W-40P | 硝酸類 | 100 | 6~25 | |
| 外螺紋節流閥 | L21W-40R | 醋酸類 | 6~25 | ||
| 外螺紋節流閥 | L21H-40 | 油品、蒸汽、水 | 425 | 15~25 | |
| 卡套節流閥 | L91H-40 | 15~25 | |||
| 節流閥 | L41H-40Q | 350 | 32~50 | ||
| 節流閥 | L41H-40 | 425 | 10~50 | ||
| 節流閥 | L41W-40P | 硝酸類 | 100 | 32~50 | |
| 節流閥 | L41W-40R | 醋酸類 | 32~50 | ||
| 節流閥 | L41H-100 | 10.0 | 油品、蒸汽、水 | 450 | 10~50 |
2-67 什么是疏水閥?結構及工作原理如何?型號及參數有哪些?
答:自動排放凝結水并組織蒸汽通過的閥門是疏水閥。疏水閥是一個自動調節閥門,它能自動排出凝結水,組織蒸汽通過。疏水閥又名阻汽排水閥。
浮桶式蒸汽疏水閥的結構就工作原理如圖 2-24 所示。桶裝浮子的開口朝上配置。開始通汽時,產生的凝結水被蒸汽壓力推到,流入疏水閥內部吊桶的四周,隨著凝結水量的增加又逐漸流入桶內。當浮桶內貯存的水達到所規定的數量時,浮桶失去了浮力,便下沉,從而打開了連接在浮桶上的閥瓣,浮桶內的水通過集水管,由疏水閥的出口排出。當浮桶內的凝結水大部分被排除之后,浮桶又恢復了浮力。向上浮起,關閉蒸汽疏水閥。
疏水閥型號及參數見表 2-62。
| 名稱 | 型號 | 公稱壓力 PN/MPa | 允許背壓/%≤ | 適用溫度/℃≤ | 公稱尺寸 DN/mm | ||||||
| 浮球式疏水閥 | S41H-16 | 1.6 | 80 | 200 | 15 | 20 | 25 | 32 | 40 | 50 | 80 |
| S41H-16Q | 350 | △ | △ | △ | △ | △ | △ | ||||
| S41H-25 | 2.5 | △ | △ | △ | △ | △ | △ | △ | |||
| S41H-40 | 4.0 | 425 | △ | △ | △ | △ | △ | △ | △ | ||
| S41H-60 | 6.4 | △ | △ | △ | △ | △ | △ | ||||
| S41H-160I | 16 | 550 | △ | △ | △ | △ | △ | △ | |||
| 浮桶式疏水閥 | S43H-6 | 0.6 | 200 | △ | △ | △ | △ | △ | △ | ||
| S43H-10 | 1.0 | △ | △ | △ | △ | △ | △ | ||||
| 內螺紋倒吊桶式疏水閥 | S15H-16 | 1.6 | △ | △ | △ | △ | △ | △ | |||
| 雙金屬片式疏水閥 | S47H-16 | 50 | △ | △ | △ | △ | △ | △ | |||
| S47H-25 | 2.5 | 350 | △ | △ | △ | △ | △ | △ | |||
| 內螺紋脈沖式疏水閥 | S18H-25 | 25 | △ | △ | △ | △ | △ | ||||
| 內螺紋圓盤式疏水閥 | S19H-16 | 1.6 | 50 | 200 | △ | △ | △ | △ | △ | △ | |
| 圓盤式疏水閥 | S49H-16 | △ | △ | △ | △ | △ | △ | ||||
| 內螺紋圓盤式疏水閥 | S19H-40 | 4.0 | 425 | △ | △ | △ | △ | △ | |||
| 圓盤式疏水閥 | S49H-40 | △ | △ | △ | △ | △ | |||||
| 承插焊圓盤式疏水閥 | S69H-40 | △ | △ | △ | △ | ||||||
| 圓盤式疏水閥 | S49H-64 | 6.4 | △ | △ | △ | ||||||
| S49Y-100 | 10.0 | 450 | △ | △ | △ | ||||||
| 承插焊圓盤式疏水閥 | S69Y-100 | △ | △ | △ | |||||||
| 圓盤式疏水閥 | S49Y-160I | 16.0 | 550 | △ | △ | △ | |||||
| 承插焊圓盤式疏水閥 | S69Y-160I | △ | △ | △ | |||||||
2-68 什么是安全閥?安全閥的各種結構功能如何?
答:當系統壓力超過調定值時自動開啟的閥稱為安全閥,安全閥用來限制氣罐或回路的最高壓力以保證安全,結構上與座閥式直動溢流閥相同。對安全閥來說,反應快是最重要的。溢流閥的調定壓力是溢流閥達到公稱流量時的壓力,但安全閥的調定壓力是開啟壓力。
當管道或設備內的介質壓力超過規定數值時,啟閉件(閥瓣)能自動開啟排放,低于規定值時,自動關閉,對管道或設備起保護作用的閥門是安全閥。
安全閥的各種結構功能:安全閥的種類很多,通常大都以安全閥的結構特點或閥瓣最大開啟高度與閥座直徑之比(h/d)進行分類,安全閥一般可分為杠桿重錘式安全閥、彈簧安全式、微啟式安全閥、全啟式安全閥、脈沖式安全閥、先導式安全閥等。這里將前四種安全閥的結構功能介紹如下,供管理、維修、檢驗、訂購參考。
1)杠桿重錘式安全閥:杠桿重錘式安全閥如圖 2-25 所示。重錘的作用力通過杠桿放大后加載于閥瓣。在閥門開啟和關閉過程中載荷的大小不變,因此由閥桿傳來的力基本是不變的。其缺點是對振動較敏感,且回座性能差。這種結構的安全閥只能用在固定設備上,重錘的質量一般不應超過 60kg,以免操作困難。鑄鐵制重錘式安全閥適用于公稱壓力 PN≤1.6MPa,介質溫度 t≤200℃;碳鋼制重錘式安全閥適用于公稱壓力 PN≤1.6MPa,介質溫度 t≤450℃。重錘式安全閥主要用于水、汽等介質。

圖 2-25 杠桿重錘式安全閥
1-閥體;2-閥座;3-閥盤;4-導向套筒;5-閥桿;6-重錘;7-杠桿;8-閥蓋
2)微啟式安全閥:閥瓣的開啟高度為閥座通徑的 1/40~1/20 的安全閥是微啟式安全閥。微啟式安全閥又分為不帶調節圈的微啟式安全閥和帶調節圈的微啟式安全閥,不帶調節圈的微啟式彈簧安全閥如圖 2-26 所示,帶調節圈的微啟式安全閥彈簧安全閥如圖 2-27 所示,帶調節圈的彈簧安全閥可利用調節圈對排放壓力即啟閉壓差進行調節。

圖 2-26 不帶調節閥的微啟式彈簧安全閥
1-閥體;2-閥瓣;3-閥座;4-彈簧;5-下彈簧閥座;6-上彈簧閥座;7-閥蓋

圖 2-27 帶調節圈的微啟式彈簧安全閥
1-閥體;2-閥座;3-調節圈;4-定位螺釘;5-閥瓣;6-閥蓋;7-保險鐵絲;8-保險鉛封;9-緊鎖螺母;10-套筒螺絲;11-安全護罩;12-上彈簧座;13-彈簧;14-閥桿;15-下彈簧座;16-導向套;17-反向沖
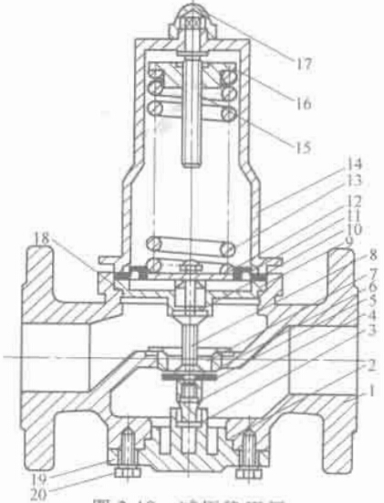
3)圈其實安全法:閥瓣的開啟高度為閥座通徑的 1/4~1/3 的安全閥是全啟式安全閥。全啟式安全閥如圖 2-28 所示,在安全閥的閥瓣處設有反沖盤,借助于氣體介質的膨脹沖力,使閥瓣開啟到足夠的高度,從而達到排量要求。這種結構的安全閥使用較多,靈敏度亦較高。

圖 2-28 全啟式安全閥
1-閥體;2-閥座;3-調節閥;4-定位螺釘;5-閥瓣;6-反沖盤;7-保險鐵絲;8-保險鉛封;9-緊鎖螺母;10-套筒螺釘;11-安全護套;12-上彈簧座;13-彈簧;14-閥桿;15-閥蓋;16-下彈簧座
2-69 安全閥的安裝有哪些要求?
答:安全閥的安裝要求是:
1)安全法必須垂直安裝,并盡量靠近被保護的設備或管道,自被保護的設備到安全閥入口管道最大壓力損失不得超過安全閥定壓的 3%。
2)安全閥入口管道的管徑必須大于或等于安全閥入口管徑,其連接的大小頭應盡量設在靠近安全閥的入口處。
3)安全閥向大氣排放時,排放的管道要高出已排放口為中心的 7.5m 半徑范圍內的操作平臺、設備或地面 2.5m 以上。而對于有腐蝕性、易燃或有毒的介質,排放口要高出 15m 半徑范圍內的操作平臺、設備或地面 3m 以上。
4)安全閥排放管排入大氣時,端部要切成平口,同時,在安全閥出口彎頭附近的低處要開設 φ6~φ10mm 的小孔,以免雨、雪或冷凝液積聚在排出管內。
5)安全閥排放液體時,要引向裝置內最近的合適的工藝廢料系統,不允許直接排放大氣。
6)安全閥要裝在易于檢修和調節處,周圍要有足夠的操作空間。
7)安全閥入口出不允許設置切斷閥,若出于檢修或其他方面的原因(如排放的介質中含有固體顆粒,影響安全閥跳開后不能再關閉,需要拆開檢修;或用于粘性、腐蝕性介質),可加切斷閥并設檢查閥,切斷閥必須處于勸其狀態,并加鉛封,且應有醒目的標志。
8)對有可能使用蒸汽吹掃的泄壓過道,應考慮由于蒸汽吹掃產生的熱膨脹。
2-70 安全閥型號及參數有哪些?
答:安全閥型號及參數見表 2-63。
| 名稱 | 型號 | 公稱壓力 PN/MPa | 密封壓力/MPa | 適用介質 | 適用溫度/℃≤ | 公稱尺寸 DN/mm |
| 外螺紋彈簧式安全閥 | A27W-10T | 1.0 | 0.4~1.0 | 空氣 | 120 | 15~20 |
| 外螺紋彈簧式帶扳手安全閥 | A27H-10K | 0.1~1.0 | 空氣、蒸汽、水 | 200 | 10~40 | |
| 彈簧式帶扳手安全閥 | A47H-16 | 1.6 | 0.6~1.6 | 40~100 | ||
| 外螺紋彈簧封閉式安全閥 | A21H-16C | 空氣、氨氣、水、氨液 | 10~25 | |||
| 外螺紋彈簧封閉式安全閥 | A21W-16P | 硝酸等 | 10~25 | |||
| 彈簧封閉式安全閥 | A41H-16C | 空氣、氨氣、水、氨液、油品 | 300 | 32~80 | ||
| 彈簧封閉式安全閥 | A41W-16P | 硝酸等 | 200 | 32~80 | ||
| 彈簧式帶扳手安全閥 | A47H-16C | 空氣、蒸汽、水 | 350 | 40~80 | ||
| 雙聯彈簧封閉式安全閥 | A43H-16C | 空氣、蒸汽 | 80~100 | |||
| 彈簧全啟式安全閥 | A40H-16C | 油品、空氣 | 450 | 50~150 | ||
| 彈簧全啟式安全閥 | A40Y-16I | 550 | 50~150 | |||
| 彈簧封閉全啟式安全閥 | A42H-16C | 0.06~1.6 | 300 | 40~200 | ||
| 彈簧封閉全啟式安全閥 | A42W-16P | 硝酸等 | 200 | 40~200 | ||
| 彈簧封閉帶扳手全啟式安全閥 | A44H-16C | 0.1~1.6 | 油品、空氣 | 300 | 50~150 | |
| 彈簧全啟式安全閥 | A48H-16C | 空氣、蒸汽 | 350 | 50~150 | ||
| 外螺紋彈簧封閉式安全閥 | A21H-40 | 4.0 | 1.6~4.0 | 空氣、氨氣、水、氨液 | 200 | 15~25 |
| 外螺紋彈簧封閉式安全閥 | A21W-40P | 硝酸等 | 15~25 | |||
| 彈簧封閉式安全閥 | A41H-40 | 1.3~4.0 | 空氣、氨氣、水、氨液、油品 | 300 | 32~80 | |
| 彈簧封閉式安全閥 | A41W-40P | 1.6~4.0 | 硝酸等 | 200 | 32~80 | |
| 彈簧式帶扳手安全閥 | A47H-40 | 1.3~4.0 | 空氣、蒸汽 | 350 | 40~80 | |
| 雙聯彈簧封閉式安全閥 | A43H-40 | 80~100 | ||||
| 彈簧全啟式安全閥 | A40H-40 | 0.6~4.0 | 油品、空氣 | 450 | 50~150 | |
| 彈簧全啟式安全閥 | A43Y-40I | 550 | 50~150 | |||
| 彈簧封閉全啟式安全閥 | A42H-40 | 1.3~4.0 | 300 | 40~150 | ||
| 彈簧封閉全啟式安全閥 | A42W-40P | 1.6~4.0 | 硝酸等 | 200 | 40~150 | |
| 彈簧封閉帶扳手全啟式安全閥 | A44H-40 | 1.3~4.0 | 油品、空氣 | 300 | 50~150 | |
| 彈簧全啟式安全閥 | A48H-40 | 空氣、蒸汽 | 350 | 50~150 | ||
| 彈簧封閉式安全閥 | A41H-100 | 10.0 | 3.2~10 | 空氣、水、油品 | 300 | 32~50 |
| 彈簧全啟式安全閥 | A40H-100 | 1.6~8.0 | 油品、空氣 | 450 | 50~100 | |
| 彈簧全啟式安全閥 | A40Y-100I | 550 | 50~100 | |||
| 彈簧全啟式安全閥 | A40H-100P | 600 | 50~100 | |||
| 彈簧封閉全啟式安全閥 | A42H-100 | 3.2~10 | 氮氫氣、油品、空氣 | 300 | 40~100 | |
| 彈簧封閉帶扳手全啟式安全閥 | A44H-100 | 油品、空氣 | 50~100 | |||
| 彈簧全啟式安全閥 | A48H-100 | 空氣、蒸汽 | 350 | 50~100 | ||
| 彈簧封閉式安全閥 | A41H-160 | 1.6 | 10~16 | 空氣、氮氫氣、水、油品 | 200 | 15~32 |
| 彈簧全啟式安全閥 | A40H-160 | 油品、空氣 | 450 | 50~80 | ||
| 彈簧全啟式安全閥 | A40Y-160I | 550 | 50~80 | |||
| 彈簧全啟式安全閥 | A40Y-160P | 600 | 50~80 | |||
| 彈簧封閉全啟式安全閥 | A42H-160 | 氮氫氣、油品、空氣 | 300 | 15~80 | ||
| 彈簧封閉式安全閥 | A41H-320 | 32.0 | 16~32 | 空氣、氮氫氣、水、油品 | 200 | 15~32 |
| 彈簧封閉式安全閥 | A42H-320 | 空氣、氮氫氣、油品 | 15~32 |
2-71 柱塞閥的功能及特點是什么?
答:柱塞閥的柱塞與密封圈間采用過盈配合,通過調節閥蓋上連接螺栓的壓緊力,是密封圈上所產生的徑向分力大于流體的壓力。從而保證了密封性,杜絕了外泄漏。
柱塞閥的特點:具有結構緊奏啟閉靈活、壽命長、維修方便等特點。柱塞閥是國際上近代發展的新穎結構閥門,受到廣泛重視。
2-72 什么是調節閥?
答:根據外來信號或流體壓力的傳遞推動調節機構,以改變流體流量的閥門稱為調節閥。
調節閥:指主要用于調節介質的流量、壓力的閥門。它包括節流閥、減壓閥。
2-73 什么是平衡閥?常用在哪里?
答:平衡閥是專用于供熱系統上的調節閥門。使用平衡閥后就能有效地解決水力失調問題。平衡閥分靜態平衡閥(簡稱平衡閥)和自動式平衡閥(也稱自力式流量調節閥)。
平衡閥的內部結構也是由閥瓣和閥座組成,外形與普通閥一樣。
2-74 柱塞閥型號和技術性能及生廠商有哪些?
答:柱塞閥型號和技術性能及生廠商見表 2-64。
| 產品名稱 | 型號 | 規格 DN/mm | 主要技術性能 | 閥體材料 | 參考重量/kg | 生產廠 | ||
| 公稱壓力 PN/MPa | 適用介質 | 適用溫度/℃ | ||||||
| 內螺紋聯接柱塞閥 | U11F-16 | 15-65 | 1.6 | 油品、水、蒸汽等 | ≤150 | 灰鑄鐵 | 1.1 | 湖州第二閥門廠 DN15-DN50、浙江省玉環縣飛樂節能閥門廠 DN15-DN50、浙江玉環縣防腐閥門廠 DN25、浙江玉環飛環閥門廠 |
| U11F-16Q | 15-50 | 球墨鑄鐵 | 浙江省玉環縣飛樂節能閥門廠、浙江玉環縣防腐閥門廠 DN25、鄭州市滎陽通用閥門廠 | |||||
| U11F-25Q | 15-50 | 2.5 | ≤250 | 鑄鐵、鑄鋼 | 鄭州市滎陽通用閥門廠 | |||
| U11S-16 | 15~65 | 1.6 | ≤250 | 灰鑄鐵 | 湖州第二閥門廠 DN15-DN50、永嘉縣甌北機械閥門廠 DN15-DN50、臺州振華閥門廠、浙江玉環縣防腐閥門廠 DN25、臺州振華閥門廠、浙江玉環縣防腐閥門廠 DN15-DN50、玉環柱塞閥制造有限公司 DN15-DN50、浙江玉環飛環閥門廠 | |||
| U11SM-16 | ||||||||
| U11S-16Q | 15~50 | ≤250 | 球墨鑄鐵 | 1.5 | 永嘉縣甌北機械閥門廠 DN15-DN50、浙江玉環縣防腐閥門廠 DN25、玉環柱塞閥制造有限公司 DN15-DN50 | |||
| U11SM-16Q | ||||||||
| U11S-16C | 15~50 | 碳鋼 | 4 | 永嘉縣甌北機械閥門廠 | ||||
| U11SM-16C | ||||||||
| U11S-25 | 15~50 | 2.5 | 10 | |||||
| U11SM-25 | ||||||||
| U11S-40 | 15~50 | 4.0 | 1.1 | |||||
| U11SM-40 | ||||||||
| 內螺紋聯接不銹鋼柱塞閥 | U11S-16P | 15~50 | 1.6 | 油品、水、蒸汽等 | ≤250 | 鉻鎳鈦鋼 | 永嘉縣甌北機械閥門廠 | |
| U11SM-16P | ||||||||
| U11S-25P | 15~50 | 2.5 | 6.5 | |||||
| U11SM-25P | 10 | |||||||
| 手動內螺紋聯接柱塞閥 | U11S-40P | 15~50 | 4.0 | 油品、水、蒸汽等 | ≤250 | 鉻鎳鈦鋼 | 永嘉縣甌北機械閥門廠 | |
| U11SM-40P | ||||||||
| 柱塞閥 | U41S-10 | 40-250 | 1.0 | ≤200 | 灰鑄鐵 | 25 | 臺州振華閥門廠 | |
| U41F-16 | 15~300 | 1.6 | ≤180 | 6.5-210 | 湖州第二閥門廠 DN15-DN50,臺州振華閥門廠 DN40-DN250、永嘉縣甌北機械閥門廠 DN15-DN200、自貢迎江機械閥門制造有些公司 DN15-DN200、廣州閥門廠 DN20-DN150、鄭州市宇明工業總公司 | |||
| U41F-16Q | 15-300 | 1.6 | ≤180 | 球墨鑄鐵 | 3.5 | 浙江玉環縣飛樂節能閥門廠、自貢迎江機械閥門制造有限公司 DN15-DN200、鄭州市滎陽通用閥門廠、廣州閥門廠 DN20-DN150 | ||
| 42 | ||||||||
| 73 | ||||||||
| 105 | ||||||||
| U41F-25Q | 2.5 | ≤250 | 鑄鐵、鑄鋼 | 鄭州市滎陽通用閥門廠 | ||||
| U41S-16 | 15-300 | 1.6 | ≤250 | 灰鑄鐵 | 70 | 河北省晉江市閥門廠 DN20-DN50、唐山遷西閥門廠 DN20-DN150、永嘉縣甌北機械閥門廠 DN15-DN200、浙江玉環縣飛環閥門廠 DN40-DN300、玉環柱塞閥制造有限公司 DN15-DN50、淄博防腐閥門廠 DN15-DN150、上海標一閥門廠 | ||
| U41SM-16 | 360 | |||||||
| U41S-16C | 15-250 | 1.6 | ≤425 | 碳鋼 | 70 | 永嘉縣甌北機械閥門廠 、浙江玉環縣飛環閥門廠、開封高壓閥門廠 DN15-DN200 | ||
| U41SM-16C | 100 | |||||||
| U41SM-16Q | 15-200 | 1.6 | ≤225 | 灰鑄鐵 | 永嘉縣甌北機械閥門廠 、南昌八一閥門有限公司 DN25-DN100 | |||
| U41F-25 | 15-300 | 2.5 | ≤250 | 碳鋼 | 7.5 | 湖州第二閥門廠 DN15-DN150、玉環柱塞閥制造有限公司、浙江玉環縣飛樂節能閥門廠、浙江玉環縣防腐閥門廠 DN50、自貢迎江機械閥門制造有限公司 DN15-DN200 | ||
| 9.5 | ||||||||
| U41F-25Q | 15-300 | ≤250 | 球墨鑄鐵 | 2.5 | 玉環柱塞閥制造有限公司、浙江省玉環縣飛樂節能閥門廠、浙江玉環縣防腐閥門廠 DN50、鄭州市滎陽通用閥門廠、自貢迎江機械閥門制造有限公司 DN15-DN200、鄭州市宇明工業總公司 | |||
| 4 | ||||||||
| 290 | ||||||||
| 360 | ||||||||
| U41S-25 | 15-300 | 油品、蒸汽等 | ≤425 | 碳鋼 | 15 | 上海精密閥門廠 DN15-DN100、永嘉縣甌北機械閥門廠 DN15-DN200、浙江玉環縣飛環閥門廠 N15-DN250、玉環柱塞閥制造有限公司 、貢迎江機械閥門制造有限公司 DN15-DN200、開封高壓閥門廠 DN15-DN200 | ||
| U41SM-25 | ||||||||
| U41S-25Q | 15-300 | 油品、水、蒸汽等 | ≤250 | 球墨鑄鐵 | 玉環柱塞閥制造有限公司 、貢迎江機械閥門制造有限公司 DN15-DN200 | |||
| U41F-40 | 15-200 | 4.0 | ≤180 | 碳鋼 | 4 | 上海精密閥門廠 DN15-DN100、湖州第二閥門廠 DN15-DN150、浙江玉環縣飛樂節能閥門廠 DN15-DN200、鄭州高山水暖器材廠 DN15-DN200 | ||
| U41S-40 | 15-300 | ≤425 | 2.5 | 上海精密閥門廠 DN15-DN100、永嘉縣甌北機械閥門廠 DN15-DN200、浙江玉環縣防腐閥門廠 DN50、浙江玉環縣飛環閥門廠 N15-DN250、玉環柱塞閥制造有限公司 、自貢迎江機械閥門制造有限公司 DN15-DN200、淄博防腐閥門廠 DN15-DN150、開封高壓閥門廠 DN15-DN200 | ||||
| U41SM-40 | ||||||||
| 不銹鋼柱塞閥 | U41F-16P | 50-200 | 1.6 | 硝酸類 | ≤180 | 鉻鎳鈦鋼 | 錫山市閥門廠、浙江玉環縣防腐閥門廠 DN50、浙江玉環縣飛樂節能閥門廠、浙江求精泵閥制造有限公司 | |
| U41F-25P | 15-200 | 2.5 | 永嘉縣甌北機械閥門廠、浙江玉環縣飛樂節能閥門廠、浙江玉環縣防腐閥門廠 DN50、浙江求精泵閥制造有限公司、自貢迎江機械閥門制造有限公司 | |||||
| U41F-40P | 15-200 | 4.0 | 浙江玉環縣防腐閥門廠 DN50、浙江玉環縣飛樂節能閥門廠、浙江求精泵閥制造有限公司、自貢迎江機械閥門制造有限公司 | |||||
| U41F-16R | 15-200 | 1.6 | 腐蝕性介質 | ≤150 | 鉻鎳鉬鈦鋼 | 錫山市閥門廠、浙江求精泵閥制造有限公司 | ||
| U41S-16P | 15-300 | 1.6 | 油品、水、蒸汽等 | ≤250 | 鉻鎳鈦鋼 | 上海精密閥門廠 DN15-DN100、錫山市閥門廠 DN15-DN200、浙江玉環縣防腐閥門廠 DN50、浙江玉環縣飛樂節能閥門廠、浙江玉環縣防腐閥門廠 DN50、浙江求精泵閥制造有限公司 DN15-DN200、 | ||
| U41S-25P | 15-300 | 2.5 | 油品、水、蒸汽等 | ≤250 | 鉻鎳鈦鋼 | 上海精密閥門廠 DN15-DN100、錫山市閥門廠 DN15-DN200、永嘉縣甌北機械閥門廠 DN15-DN200、浙江玉環縣飛樂節能閥門廠、浙江玉環縣防腐閥門廠 DN50、自貢迎江機械閥門制造有限公司 DN15-DN200 | ||
| U41S-40P | 15-200 | 4.0 | 上海精密閥門廠 DN15-DN100、錫山市閥門廠、浙江玉環縣飛樂節能閥門廠、浙江玉環縣防腐閥門廠 DN50、自貢迎江機械閥門制造有限公司 | |||||
| U41S-16R | 15-200 | 1.6 | 腐蝕性介質 | ≤150 | 鉻鎳鉬鈦鋼 | 錫山市閥門廠 | ||
| 沉浮塑料柱塞閥 | SFUF46-16 | 15-200 | 1.6 | 腐蝕性介質 | ≤150 | 鋼碳 | 上海耐萊斯閥門有限公司 | |
| 手動快開排污塞閥 | KUB41S-16 | 25 | 1.6 | 油品、水、蒸汽等 | ≤250 | 球墨鑄鐵 | 玉環柱塞閥制造有限公司 DN25、DN40、DN50 | |
| 40 | ||||||||
| 50 | ||||||||
| KUB41S-25 | 25 | 2.5 | 球墨鑄鐵 | |||||
| 40 | ||||||||
| 50 | ||||||||
| KUB41S-40 | 25 | 4.0 | 鋼碳 | |||||
| 40 | ||||||||
| 50 | ||||||||
2-75 閥門故障分類方法有哪些?
答:閥門故障分類方法如下:

2-76 閥門故障模式有那些?
答:閥門故障模式見表 2-65。
| 類別 | 故障模式 | 故障分析 | 故障舉例 |
| 損壞型 | 斷裂 | 閥門零件在外力或內應力作用下斷開 | 軸類、桿類、支架、彈簧等斷裂 |
| 碎裂 | 閥門零件在外力的作用下,超過強度極限而被破壞形成碎塊 | 軸承、缸套等的碎裂 | |
| 裂紋 | 閥門零件表面或內層產生細微紋路 | 軸類、桿類、支架等的裂紋 | |
| 塑性變形 | 閥門零件的許用應力超過彈性極限而產生永久變形 | 軸類、桿類、彈簧等塑性變形 | |
| 開裂 | 閥門零件因強度不夠,裂開可見的縫隙 | 橡膠件的開裂 | |
| 點蝕 | 閥門零件表面在循環變化的接觸應力作用下,由于疲勞而產生的點狀剝落 | 凸輪、軸承管道等出現的點蝕 | |
| 滑扣 | 螺紋緊固件因螺紋損壞而不能擰緊 | 閥桿螺母的螺母磨平滑扣 | |
| 粘附 | 閥門零件間的接觸表面因為過熱得等原因,便接觸表面處材料分子轉移而產生局部吸附 | 閥瓣與閥座的粘附 | |
| 開焊 | 焊縫或焊縫與基體間出現螺紋或開裂 | 法蘭與閥體接縫的開裂 | |
| 咬住 | 閥門零件間接觸表面由于粘附或滯卡嚴重,產生阻力而導致相對運動中斷 | 緊固件、螺紋連接處的咬住 | |
| 失調型 | 干涉 | 閥門運動件與運動件之間或運動件與固件之間發生碰撞或摩擦,多因安裝設計不當造成 | 設計問題 |
| 行程過大或過小 | 閥門操縱件或運動件所能到達極限位置之間的距離不符合技術要求,多因安裝調整不當造成 | 閥瓣開啟高符不符合要求,閥瓣振顫 | |
| 間隙過大或過小 | 閥門配合間隙不符合技術要求 | 導向件之間配合問題 | |
| 指示不準或無指示 | 閥門檢測儀表指示值與實際情況值不符 | 閥門閥瓣實際開啟高度與指示值不對應 | |
| 松脫型 | 松動 | 閥門緊固件、聯接件喪失應有的緊固力 | 法蘭螺栓、鉚釘等連接件的松動 |
| 脫落 | 因連接失效造成被連接閥門零件與原安裝位置分離 | 法蘭螺栓、鉚釘等連接件的脫落 | |
| 退化型 | 銹蝕 | 由于水或雜質的原因使閥門零件表面發生化學反應生銹被腐蝕 | 閥軸腐蝕 |
| 剝落 | 金屬或涂層因承受搞得接觸應力,以薄片狀從零件表面脫落 | 閥瓣堆焊層金屬的剝落 | |
| 老化 | 閥門非金屬因機械磨損和熱磨損,與工作環境因素有關 | 橡膠零件(隔膜,墊片、填料環)因失去彈性而老化 | |
| 異常磨損 | 因為設計、制造、裝配或使用等原因是運動件表面產生超過正常磨損 | 緊固件在運動中異常磨損 | |
| 堵塞與滲漏型 | 外漏 | 由于密封面有劃痕、填料壓蓋不合格、閥體破裂、法蘭變形以及安裝不當等引起 | 閥體、發料、法蘭密封面的外漏 |
| 內漏 | 由于焊接缺陷、選材不當、熱處理不當或鑄件缺陷,在閥瓣上落入異物、預緊力降低等問題引起密封不嚴而使介質泄漏 | 閥體與隔膜,閥瓣與閥座間的泄露 | |
| 堵塞 | 閥門管路中有異物阻擋,造成液體或氣體不能流動或流動不暢 | 控制管線的堵塞,如先導閥脈沖管堵塞 |
2-77 安全閥主要故障模式有哪些?
答:安全閥主要故障模式見表 2-66。
| 類別 | 故障模式 | 原因分析 | 備注 |
| 損壞型 | 彈簧塑性變小 | 彈簧剛性降低,許用應力超過彈性極限,承受熱交變應力 | 漸進故障 |
| 閥瓣未到整定值突然開啟 | 閥體和閥蓋體上有砂眼、松散組織、夾渣、焊接不良或應力裂紋等缺陷 | 漸進故障 | |
| 失調型 | 閥瓣起跳、回座壓力偏高或偏低不能達到完全開啟狀態 | 彈簧斷裂或整定不當 | 突然故障 |
| 整定值偏低或有異物卡塞閥瓣驅動機構 | 運行故障 | ||
| 嚴重故障 | |||
| 振顫 | 調整不當,安全閥入口處理不當或距離上游側彎頭太近,導致氣流產生渦流而引起擾動 | 運行故障 | |
| 蹦跳 | 調整不當或排氣管水平段太長,選型不當 | 嚴重故障 | |
| 運行故障 | |||
| 管道系統振動 | 管道系統防振措施達不到要求 | 結構故障 | |
| 拒動 | 控制部分失敗(如電池閥不動作),或有異物卡塞閥瓣驅動機構,或相關部件配合間隙太小 | 突然故障 | |
| 致命故障 | |||
| 退化型 | 彈簧磨損變形 | 介質腐蝕磨損 | 漸進故障 |
| 堵塞與滲漏型 | 閥體與閥蓋間密封件泄漏 | 沒有按照相關產品說明或現場實際情況進行正確的調整 | 嚴重故障 |
| 閥瓣與閥座之間的密封面泄漏 | 閥瓣的侵蝕性磨損或腐蝕,密封面硬質合金磨損或脫落,研磨質量欠佳 | 漸進故障 |
2-78 各類減壓閥的性能對比如何?
答:減壓閥按作用原理分為直接作用式和先導式。直接作用式減壓閥是利用出口壓力的變化直接控制閥瓣的運動。先導式減壓閥由導閥和主閥組成,出口壓力的變化通過導閥放大來控制主閥的運動,其性能對比見表 2-67。
| 類型 | 直接作用式 | 先導式 | |||
| 波紋管 | 薄膜 | 活塞 | 波紋管 | 薄膜 | |
| 適用介質 | 蒸汽 | 空氣、水 | 蒸汽、空氣、水 | 蒸汽、空氣 | 蒸汽 |
| 使用壓力 | 低壓 | 中低壓 | 各種壓力 | 低壓 | 中低壓 |
| 適用口徑/mm | 20-50 | 15-200 | 15-200 | 20-65 | 20-50 |
| 精度 | 低 | 中 | 高 | 高 | 高 |
| 流通能力 | 中 | 小 | 大 | 大 | 中 |
| 密封性能 | 中 | 好 | 中 | 中 | 中 |
| 靈敏性 | 中 | 高 | 低 | 中 | 高 |
| 成本 | 中 | 低 | 高 | 高 | 較高 |
2-79 常用閥門如何選用?
答:常用閥門的選用見表 2-68。
| 閥門種類 | 圖例 | 主要用途 |
| 閘閥 |
![]() |
截斷介質,允許雙向流動,全啟全閉,不適于調節流量 |
| 截止閥 |
![]() |
截斷介質,不允許雙向流動;調節參數不嚴格時,可代做調節閥,但不再起關閉作用;密封性較閘閥好 |
| 球閥 |
![]() |
截斷介質,啟閉迅速,允許做節流用 |
| 旋塞閥 |
![]() |
一般用途同球閥,三通、四通旋塞還可用作分配和換向 |
| 蝶閥 |
![]() |
截斷介質,啟閉迅速,也可做節流用 |
| 隔膜閥 |
![]() |
用于腐蝕性介質的啟閉和節流,也可用于帶懸浮物介質 |
| 柱塞閥 | 截斷介質、全啟全閉,也可調解流量;密封性好,泄漏少(注:GB 沒有規定圖例) | |
| 節流閥 |
![]() |
調節介質流量計壓力,但調節精度不高,沒有調節閥的調節特性,不做截斷用 |
| 調節閥 |
![]() |
調節介質流量及壓力(注:圖例表示帶彈簧薄膜元件的調節閥) |
| 止回閥 |
![]() |
自動防止介質倒流(注:圖例中流向有空白三角形至非空白三角形) |
| 安全閥 |
![]() |
用作設備或管路的超壓保護,能自動維持壓力在安全值以下(注:圖例中左為彈簧式,右為重錘式) |
| 減壓閥 |
![]() |
可自動將介質壓力減低至所需壓力(注:圖例中小三角形為高壓端) |
| 疏水閥 |
![]() |
可自動排除蒸汽管路或系統中的凝結水,并阻止蒸汽逸漏,同時也可排除管路系統中的空氣和其他水凝性氣體(注:圖例中左為 GB141,右為 ISO) |
2-80 什么是浮球閥?結構特點是什么?常用在哪里?
答:浮球閥也稱漂子門,是一種自動補水閥門,用作高位水箱及各種貯水器中進水的自動開關設備,其結構如圖 2-29 所示,它是由浮球、杠桿、閥瓣、閥座四個部分組成。浮球閥在水面上,如水面升高,球閥也隨之升高,浮球帶動杠桿式閥瓣壓在閥座上,將閥座關閉,停止進水。當水位低于規定位置時,浮球也隨之下降,帶動杠桿使閥瓣離開閥座,讓水進入水箱。如此周而復始的動作,就實現了水位的自動控制。

圖 2-29 浮球閥
第 3 章 管道布置和常用管材、管件及附件
3-1 管線的含義是什么?
答:管線是指各種管道與電氣路線。管道包括動力管道與工藝管道;電氣線路包括架空線路和電纜線路兩種。
3-2 管線基本單元如何劃分?
答:工廠企業要本著方便維修和管理的原則,結合各種管線的自然特點(大型企業可把管線劃分為若干個基本單位),按規定進行編號和入賬,劃分原則如下。
(1)動力管道和工藝管道
1)從站房外閥門或分氣缸(或儲氣罐)的配出閥門到該管路上的第一閥門(包括第一閥門)的管道為一個單元。
2)從第一閥門到第二閥門(包括第二閥門),或者從一閥門倒下一閥門(包括下一閥門)的管道為一個單元。
3)該管道每一入戶管段至各固點使用電的管路為一單元。
4)各管路應包括有關附件。
(2)上門管道
1)自備泵房的上水管道:①從水塔下管道閥門(或從水塔)到管路上第一閥門(包括第一閥門)為一單元;②深井泵的總配出閥門到管道上第一閥門的管道為第一單元;③從一閥門到下一閥門(包括下一閥門)的水管為一單元;④水管每一入戶管段到各固定使用點的水管為一單元;⑤水塔及深井泵的總配出閥門屬泵房,不列入管路單元。
2)城市給水管道:①從進場水管總閥門到管路上第一閥門(包括第一閥門)的水管為一單元;②從一閥門到下一閥門(包括下一閥門)的水管為一單元;③水管末級閥門到各固定使用點的水管為一單元。
(3)電力線路
1)配電間每一路引出母線或電纜(或兩次側開關后端接點引出母線或電纜),包括分支干線為一單元;上述線路應包括瓷件、橫擔、電纜頭、電纜中間接頭等附件。
2)變配點所的變壓器一次側高壓隔離開關(或跌落熔斷器)至該配電所二次側引出母線開關的末端接點為變配點所的復數線路,不單獨編號。
3)動力配電箱(板)及引入、引出線為該箱(板)附設線路,不單獨編號。
(4)照明線路:一個照明控制箱(開關)及控制的燈具、線路等為一單元。
(5)電話線路:從交換機(總機)配線架分出的每一個電纜線路(包括各分線盒、中間接頭)各為一單元。
3-3 管線圖樣管理的要求是什么?
答:管線圖樣管理的要求是:
為加強各種管線的管理,確保安全運行,應按要求整頓各類管線和繪制動力管線圖,并責成有關部門指定專人管理。
各種管線圖應統一以全廠建筑物平面布置圖為底圖進行繪制。全場平面圖的繪制應符合國標 GB/T 50104-2001《建筑制圖標準》,并采用建筑坐標進行標注,各管線應對建筑物標注距離尺寸或用建筑坐標標注其方位。
管線圖中各管道口徑(公稱直徑)和電線電纜直徑以 mm 為單位,其余尺寸一律以 m 為單位,并精準到小數點后兩位進行標注,原有的建筑物和各種管線可放寬到小數點后一位進行標注。各類管線圖可分類、分片進行繪制,也可合成在一張平面圖上。
3-3 管線圖樣的繪制有什么規定?
答:(1)管道圖繪制規定
1)各類動力管道中的管件符號應按國標 GB/T 6567.3-2008 的規定繪制。
2)輸送液體與氣體管路符號的規定:輸送各種液體與氣體的管路一律用實線表示,為了區別各種不同的管路,在線的中間須注上漢語拼音字母的規定符號。
3)上水管的符號為“S”:①S 為上水管(不分類型);②S1 為生產上水管;③S2 為生活上水管;④S3 為生產、生活消防上水管;⑤S4 為生產消防上水管;⑥S5 為生活消防上水管;⑦S6 為消防水上管;⑧S7 為高壓供水管;⑨S8 為軟化水管;⑩S9 為沖洗水管;⑪S10 為低溫水管;⑫S11 為城市上水管;⑬S12 為原有上水管(利用);⑭S13 為原有上水管(廢除)。
4)下水管的符號為“X”:①X 為下水管(不分類型);②X1 為生產下水管(自流);③X2 為生產下水管(壓力);④X3 為生活下水管(自流);⑤X4 為生活下水管(壓力);⑥X5 為生產生活下水管(自流);⑦X6 為生產生活下水管(壓力);⑧X7 為生產雨水下水管(自流);⑨X8 為生產雨水下水管(壓力)。
5)循環水管的符號為 “XH”。
6)化工管的符號為“H”。
7)熱水管的符號為“R”:①R 為熱水管(不分類型);②R1 為生產熱水管(循環自流);③R2 為生產熱水管;④R3 為生活熱水管;⑤R4 為熱水回水管;⑥R5 為采暖溫水送水管;⑦R6 為采暖溫水回水管。
8)凝結水管的符號為“N”:①N1 為凝結水管;②N2 為凝結回水管(自流);③N3 為凝結回水管(壓力)。
9)冷凍水管的符號為“L”:①L1 為冷凍水管;②L2 為冷凍回水管。
10)蒸汽管的符號為“Z”。
11)煤氣管的符號為“M”:①M1 為高爐煤氣管;②M2 為焦爐煤氣管;③M3 為發生爐熱煤氣管;④M4 為發生爐冷媒氣管;⑤M5 為發生爐水煤氣管。
12)壓縮空氣的符號為“YSj”。
13)氧氣管的符號為“YQ”。
14)氮氣管的符號為“DQ”。
15)氫氣管的符號為“QQ”。
16)乙炔管的符號為“YJ”。
17)鼓風管的符號為“GF”。
18)通風管的符號為“TF”
19)油管的符號為“Y”:①Y1 為原油罐;②Y3 為車用汽油管;③Y5 為燃料油管;④Y7 為柴油管;⑤Y9 為重油管;⑥Y11 為潤滑油管。
20)圖上管路的直徑尺寸、流體參數和代號可按圖 3-1 所示方法標注。

圖 3-1 管道標識方法示意圖
管道的規定符號一般用漢語拼音字母表示。阿拉伯數字表述流體參數。例如:
S1DN100,標示生產上水管。其公稱直徑為 100mm。
13Z DN200,表示 13 個絕對大氣壓的公稱直徑為 200mm 的蒸汽管道。
1400M3DN500,表示發生爐熱煤氣其熱值為 1400kcal/m³(1cal=4.1868J),公稱直徑為 500mm 的發生爐煤氣管路;
90R DN100,表示 90℃ 的公稱直徑 100mm 的熱水管路。
21)圖上同時出現地面和埋地管線時,埋地管路可用虛線表示,但用實線表示時必須注上標高,每線圖一般要列出所用規定符號的說明,同一圖上的管道不論管子大小必須用同等粗細的線條畫出,其輔助圖例及符號見表 3-1。
| 序號 | 名稱 | 圖例 | 備注 |
| 1 | 保濕管 |
![]() |
全部的可用直線或文字說明 |
| 2 | 地溝管 |
![]() |
全部的可用直線或文字說明 |
| 3 | 架空管 |
![]() |
有了飆高可不注符號 |
| 4 | 原有管 |
![]() |
2、15 為線距及線段長度 |
| 5 | 埋地管 |
![]() |
可用實線表示,但必須注上標高 |
| 6 | 管路坡度及方向 |
![]() |
|
| 7 | 暖氣管井 |
![]() |
原有的井可用虛線表示 |
| 8 | 上水管井/下水管井/排水溝井 |
![]() |
原有的井可用虛線表示 |
| 9 | 消火栓井 |
![]() |
原有的井可用虛線表示 |
| 10 | 化糞池 |
![]() |
原有的池可用虛線表示 |
| 11 | 雨水井 |
![]() |
原有的井可用虛線表示 |
22)管道零件、附件及熱力工程的規定符號如下:①管道及其聯接的一般符號規定如圖 3-2 所示。

圖 3-2 管道連接符號示意
23)動力管道中各閥門、表針均應單獨在圖上標注方位尺寸、型號規格及有關編號。
24)動力管道上(廠區或車間)均應畫到各固定使用點,給水管道畫到各用戶龍頭,壓縮空氣管道畫到各用氣設備的進口閥門等。
(2)電力線路圖繪制要求
1)企業應繪制變配電一、二次接線圖,原理圖,電力配電線路圖(包括照明路燈圖)。
2)電力線路途中符號應按 GB/T4728.5-2005 和 GB/T4728.11-2008 的規定繪制。
3)電氣符號通常包括電氣系統圖圖形符號、電工設備文字符號和電工系統圖的回路標號三種。
電氣系統圖中的圖形符號見表 3-3;用以區分電氣系統中的設備、裝置元件及線路的名稱、性能、作用、位置、安裝方式和文字符號見表 3-4;電氣系統平面布置圖中用的標注符號見表 3-5。






















